Product Summary
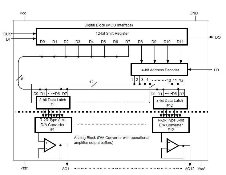
The Fujitsu MB88346PF-G-BND-EF is an R-2R type 8-bit resolution digital-to-analog converter (DAC), designed for interface with a wide range of general 4-bit and 8-bit microcontrollers including Fujitsu MB88200 family, MB8850 family, and MB88500 family 4-bit single-chip microcontrollers. The MB88346PF-G-BND-EF has an 8-bit x 12-channel D/A converter with operational amplifier output buffers. Digital data are input serially by individual channel units. The loaded digital data are converted into analog DC voltages by the D/A converter in 20 ms settling time. Also, the MB88346PF-G-BND-EF has operational amplifier output buffers. These operational amplifier output buffers are connected to each channel of the D/A converter, and provide high current drive capability. The MB88346PF-G-BND-EF is suitable for electronic volumes and replacement for potentiometers for adjustment, in addition to normal D/A converter applications.
Parametrics
MB88346PF-G-BND-EF absolute maximum ratings: (1)Input Voltage VIN: -0.3 to Vcc+0.3 V Ta = +25℃; (2)Output Voltage VOUT: -0.3 to Vcc+0.3 V GND = 0 V; (3)Power Dissipation PD: 250 mW; (4)Operating Ambient Temperature Ta: -20 - +85 ℃; (5)Storage Temperature TSTG: -55 to +150 ℃.
Features
MB88346PF-G-BND-EF features: (1)Conversion method : R-2R resistor ladder; (2)8-bit x 12-channel D/A converter with operational amplifier output buffers; (3)Max. 2.5MHz Serial data input; (4)Serial data output for cascade connection; (5)Max. 20 ms DAC output settling time; (6)Max. +1.0/-1.0 mA analog output sink/source current; (7)Two separate power supply/ground lines for MCU interface block/operational amplifier output buffer block and D/A converter block; (8)Pin compatible with MB88341; (9)Single +5V power supply; (10) Wide operating temperature range: -20℃ to +85℃; (11)Silicon-gate CMOS process.
Diagrams

![]() MB88 |
![]() |
![]() RECTIFIER BRIDGE 8A 800V BR-6 |
![]() Data Sheet |
![]() Negotiable |
|
|||||||
![]() |
![]() MB88101A |
![]() Other |
![]() |
![]() Data Sheet |
![]() Negotiable |
|
||||||
![]() |
![]() MB88151APNF-G-100-JNE1 |
![]() |
![]() IC SSCG EMI RED 8-SOIC |
![]() Data Sheet |
![]()
|
|
||||||
![]() MB88151AEB01-100 |
![]() |
![]() BOARD EVALUATION FOR MB88151 |
![]() Data Sheet |
![]()
|
|
|||||||
![]() |
![]() MB88141A |
![]() Other |
![]() |
![]() Data Sheet |
![]() Negotiable |
|
||||||
![]() |
![]() MB88146A |
![]() Other |
![]() |
![]() Data Sheet |
![]() Negotiable |
|
||||||
(China (Mainland))









