Product Summary
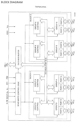
The TMP82C255AN-10 is a CMOS high speed programmable input/output interface with six 8-bit I/O port. The function is almost equivalent to TMP82C55AX2. The TMP82C255AN-10 has the function that ports state are selectable immediately after reset by hardware either in input state or output state.
Parametrics
Absolute maximum ratings: (1)supply voltage, VCC: -0.5 to 7.0V; (2)input voltage, Vin: -0.5 to VCC+0.5V; (3)power dissipation, Pd: 250mW; (4)soldering temperature, Tsolder: 260℃; (5)storage temperature, Tstg: -60 to 150℃; (6)operating temperature, Topr: -40 to 85℃.
Features
Features: (1)48 programmable I/O terminals; (2)the ports of TMP82C255AN-10 is able to set to pouput after reset by hardware; (3)high speed version; (4)low power consumption; (5)three operation modes; (6)bit set/rest capability
Diagrams

![]() |
![]() TMP8049PI-6 |
![]() Other |
![]() |
![]() Data Sheet |
![]() Negotiable |
|
||||||||||||
![]() |
![]() TMP814PWR |
![]() Texas Instruments |
![]() Motor / Motion / Ignition Controllers & Drivers Fan Motor Pre-Driver |
![]() Data Sheet |
![]()
|
|
||||||||||||
![]() |
![]() TMP815PWR |
![]() Texas Instruments |
![]() Motor / Motion / Ignition Controllers & Drivers Sgl-Ph Full-Wave Fan-Motor Pre-Driver |
![]() Data Sheet |
![]()
|
|
||||||||||||
![]() |
![]() TMP816PWR |
![]() Texas Instruments |
![]() Motor / Motion / Ignition Controllers & Drivers Sgl-Ph Full-Wave Fan-Motor Pre-Driver |
![]() Data Sheet |
![]()
|
|
||||||||||||
![]() |
![]() TMP821DR |
![]() Texas Instruments |
![]() Motor / Motion / Ignition Controllers & Drivers Two-Phase Half-Wave Motor Predriver |
![]() Data Sheet |
![]()
|
|
||||||||||||
![]() |
![]() TMP821DRG4 |
![]() Texas Instruments |
![]() Motor / Motion / Ignition Controllers & Drivers Two-Phase Half-Wave Motor Predriver |
![]() Data Sheet |
![]()
|
|
||||||||||||
(China (Mainland))









