Product Summary
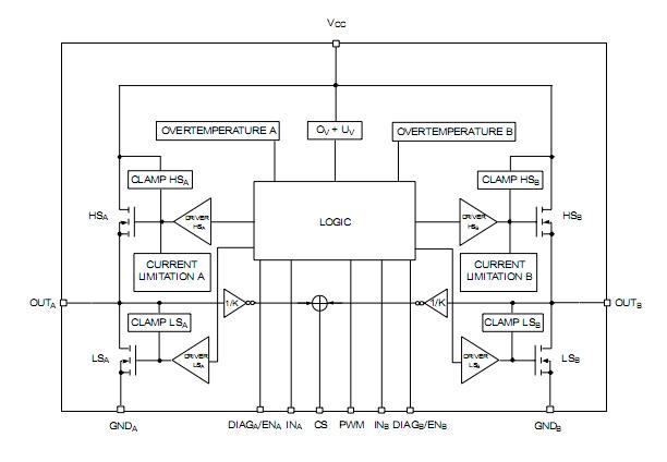
The VNH2SP30E is a full bridge motor driver intended for a wide range of automotive applications. The VNH2SP30E incorporates a dual monolithic High-Side drivers and two Low-Side switches. The DIAGA/ENA or DIAGB/ENB, when connected to an external pull-up resistor, enable one leg of the bridge. The VNH2SP30E also provides a feedback digital diagnostic signal. The CS pin allows to monitor the motor current by delivering a current proportional to its value. The PWM, up to 20KHz, lets us to control the speed of the motor in all possible conditions. In all cases, a low level state on the PWM pin will turn off both the LSA and LSB switches. When PWM rises to a high level, LSA or LSB turn on again depending on the input pin state.
Parametrics
VNH2SP30E absolute maximum ratings: (1)Supply Voltage:+ 41V; (2)Maximum Output Current (continuous):30A; (3)Reverse Output Current (continuous):-30A; (4)Input Current (INA and INB pins):±10mA; (5)Enable Input Current (DIAGA/ENA and DIAGB/ENB pins):±10mA; (6)PWM Input Current:±10 mA; (7)Current Sense Maximum Voltage:-3/+15V; (8)Electrostatic Discharge (R=1.5kΩ, C=100pF): CS pin:2kV, logic pins:4kV, output pins: OUTA, OUTB, VCC:5kV; (9)Junction Operating Temperature:Internally Limited; (10)Case Operating Temperature:-40℃ to 150℃; (11)Storage Temperature:-55℃ to 150℃.
Features
VNH2SP30E features: (1)output current: 30A; (2)5V logic level compatible inputs ; (3)undervoltage and overvoltage shut-down; (4)overvoltage clamp; (5)thermal shut down; (6)cross-conduction protection; (7)linear current limiter; (8)very low stand-by power consumption; (9)PWM operation up to 20 KHz; (10)protection against: loss of ground and loss of vcc ; (11)current sense output proportional to motor current; (12)in compliance with the 2002/95/ec european directive.
Diagrams

![]() |
![]() VNH2SP30 |
![]() STMicroelectronics |
![]() Motor / Motion / Ignition Controllers & Drivers VIPOWER |
![]() Data Sheet |
![]() Negotiable |
|
||||||||||||
![]() |
![]() VNH2SP30TR-E |
![]() STMicroelectronics |
![]() Motor / Motion / Ignition Controllers & Drivers Auto Fully Integratd |
![]() Data Sheet |
![]()
|
|
||||||||||||
![]() |
![]() VNH2SP30-E |
![]() STMicroelectronics |
![]() Motor / Motion / Ignition Controllers & Drivers Auto Fully Integratd |
![]() Data Sheet |
![]()
|
|
||||||||||||
(China (Mainland))









